咨詢熱線
021-56037469
021-56381771
021-56318899
021-56325777主要參數 |
流量:0.8~150(m3/h) |
壓力:0.6~1.2(Mpa) |
工作溫度:≤40℃ |
進出口徑:25~250(mm) |
轉速:400~960(r/min) |
允許顆粒直徑:1.5~20(mm) |
允許纖維長度:25~150(mm) |
產品概述:
| 介質磨損狀況 | 介質名稱 | 轉速(r/min) | |||
| 介質無磨損 | 淡水、促凝劑、油、漿汁、肥皂水、血液、甘油等 | 400~1000 | |||
| 介質一般磨損 | 工業廢水、油漆顏料、粘灰漿、魚、麥麩、菜籽油過濾后沉淀物 | 200~400 | |||
| 介質嚴重磨損 | 泥漿、石灰漿、灰泥、陶土、黏土等 | 50~20 | |||
| 介質粘度(cst) | 1~1000 | 1000~10000 | 10000~100000 | 100000~1000000 | |
| 轉速(r/min) | 400~1000 | 200~400 | <200 | <100 | |
| 介質無磨損性一級 | 介質無磨損性二級 | 介質一般磨損性一級 | 介質一般磨損性二級 | 介質嚴重磨損性一級 | 介質嚴重磨損性二級 |
| 0.6Mpa | 1.2Mpa | 0.4Mpa | 0.8Mpa | 0.4Mpa | 0.2Mpa |
G型單螺桿泵是一種內嚙合回轉式容積泵,當單線螺旋的轉子在雙線的螺旋定子孔內繞定子軸線作行星回轉時,轉子一定子付之間形成的密閉腔就連續的、勻速的、容積不變的將介質從吸入端輸送到輸出端。G型單螺桿泵定子選用多種彈性材料制成,特別適應高粘度達到80%流體的輸送和含有硬質懸浮顆粒介質或含有纖維介質的輸送,G型單螺桿泵廣泛應用于食品造紙、冶金、化工、印染、化肥制藥等工業部門使用.G型單螺桿泵的傳動可以通過調整轉速來調整流量,達以控制流量的目的,也可采用聯軸器直接傳動,或采用高速電機,三角帶,變速箱等裝置變速。
型號意義:
例:FG35 - 1
1、表示一級泵:2、表示二級泵
35-螺桿名義直徑(mm)
G-表示系列單螺桿泵
F-表示不銹鋼泵(無字母表示過流部件為鑄鐵,內部零件為2Cr13不銹鋼或者耐磨鋼)
產品特點:
1、與離心泵相比螺桿泵無需安裝閥門,流量是穩定的線性流動。
2、與氣動隔膜泵相比螺桿泵可輸送各種混合雜質含有氣體及固體顆粒或纖維 的介質,也可輸送各種腐蝕性物質。
3、與齒輪泵相比,螺桿泵可輸送高粘度的物質。
4、與柱塞泵,隔膜泵及齒輪泵不同的是,螺桿泵可用于藥劑填充和計量。
產品用途:
1.輸送高粘度的介質。
2.輸送含有固體顆粒或纖維的介質。
3.要求連續、壓力穩定、不出現周期性壓力波動。
4.要求攪動小、不破壞被輸送介質的固有結構。
5.低的噪聲。
性能參數表:
泵型號 | 流量(m3/h) | 壓力(Mpa) | 允許轉速(r/min) | 電機功率(kw) | 汽蝕余量(m) | 進口法蘭(mm) | 出口法蘭(mm) | 顆粒直徑(mm) | 纖維長度(mm) |
G20-1 | 0.8 | 0.6 | 960 | 0.75 | 4 | 25 | 25 | 1.5 | 25 |
G20-2 | 0.8 | 1.2 | 960 | 1.5 | 4 | 25 | 25 | 1.5 | 25 |
G25-1 | 2 | 0.6 | 960 | 1.5 | 4 | 40 | 32 | 2 | 30 |
G25-2 | 2 | 1.2 | 960 | 2.2 | 4 | 40 | 32 | 2 | 30 |
G30-1 | 5 | 0.6 | 960 | 2.2 | 4 | 50 | 40 | 2.5 | 35 |
G30-2 | 5 | 1.2 | 960 | 3 | 4 | 50 | 40 | 2.5 | 35 |
G35-1 | 8 | 0.6 | 960 | 3 | 4 | 50 | 50 | 3 | 40 |
G35-2 | 8 | 1.2 | 960 | 4 | 4 | 50 | 50 | 3 | 40 |
G40-1 | 12 | 0.6 | 960 | 4 | 4 | 80 | 65 | 3.8 | 45 |
G40-2 | 12 | 1.2 | 960 | 5.5 | 4 | 80 | 65 | 3.8 | 45 |
G50-1 | 14 | 0.6 | 720 | 5.5 | 4.5 | 100 | 80 | 5 | 50 |
G50-2 | 14 | 1.2 | 720 | 7.5 | 4.5 | 100 | 80 | 5 | 50 |
G60-1 | 22 | 0.6 | 720 | 11 | 5 | 125 | 100 | 6 | 60 |
G60-2 | 22 | 1.2 | 720 | 15 | 5 | 125 | 100 | 6 | 60 |
G70-1 | 38 | 0.6 | 720 | 11 | 5 | 150 | 125 | 8 | 70 |
G70-2 | 38 | 1.2 | 720 | 18.5 | 5 | 150 | 125 | 8 | 70 |
G85-1 | 56 | 0.6 | 630 | 15 | 5 | 150 | 150 | 10 | 80 |
G85-2 | 56 | 1.2 | 630 | 30 | 5 | 150 | 150 | 10 | 80 |
G105-1 | 100 | 0.6 | 500 | 30 | 5 | 200 | 200 | 15 | 110 |
G105-2 | 100 | 1.2 | 500 | 55 | 5 | 200 | 200 | 15 | 110 |
G135-1 | 150 | 0.6 | 400 | 45 | 5 | 250 | 250 | 20 | 150 |
G135-2 | 150 | 1.2 | 400 | 90 | 5 | 250 | 250 | 20 | 150 |
備注:性能參數表均只做參考,如需產品相關安裝圖等詳細參數說明書請致電:021-56386999。
注意事項:
1,開機前必須按確定方向,不得反轉
2,嚴禁再無介質的情況下空運轉,以免損壞定子。
3,新安裝或停機數天后的泵,不能立即啟動、應先向泵體內注入適量機油或肥皂水,再用管子鉗扳動幾轉后才可以啟動。
4,輸送高粘度或含顆粒及腐蝕性的介質后,應用水或溶劑進行沖洗,防止阻塞,以免下次啟動困難。
5,冬季應排除積液,防止凍裂,
6,使用過程中,軸承座內應定期加潤滑油,發現軸端有滲流時,要及時處理或更換油封。
7,在運行中發現異常情況,應立即停車檢查原因,排除故障。
故障方法:
故障 | 原因 | 排除方法 |
泵不能啟動 | 新泵轉子,定子配合過緊 | 用工具人力幫助轉動幾圈 |
電壓太低 | 檢查、調整 | |
介質黏度過高 | 稀釋料液 | |
泵不出液 | 旋轉方向不對 | 調整方向 |
吸入管路有問題 | 檢查泄漏,打開進出口閥門 | |
介質粘度過高 | 稀釋料液 | |
轉子、定子損壞或傳動部件損壞 | 檢查更換 | |
泵內異物堵塞 | 排除更換 | |
流量達不到 | 管路泄漏 | 檢查修理管路 |
閥門未全部打開或局部堵塞 | 打開全部閥門、排除堵塞物 | |
轉速太低 | 調整轉速 | |
轉子、定子磨損 | 更換損壞的零件 | |
壓力達不到 | 轉子、定子磨損 | 更換轉子、定子 |
電機過熱 | 電機故障 | 檢查電機、電壓、電流、頻率 |
出口壓力過高,電機超載 | 檢查揚程,開足出口閥門,排除阻塞 | |
定子燒壞或粘在轉子上 | 更換損壞零件 | |
流量、壓力急劇下降 | 管道突然堵塞或泄漏 | 檢查排除 |
定子磨損惡劣 | 更換 | |
液體粘度突然改變 | 找出原因排除 | |
電壓突然下降 | 找出原因排除 | |
軸密封處大量泄漏液體 | 軟填料磨損 | 壓緊或更換填料 |
機械密封損壞 | 修復或更換 |
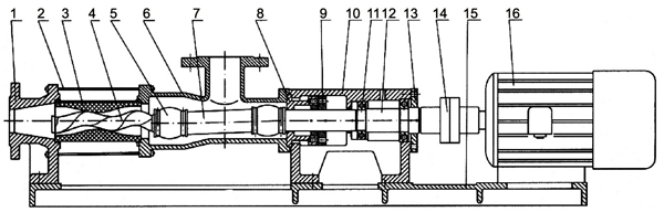
結構圖:

序號 | 名稱 | 序號 | 名稱 |
1 | 出料體 | 9 | 填料壓蓋 |
2 | 拉桿 | 10 | 軸承座 |
3 | 定子 | 11 | 軸承 |
4 | 螺桿軸 | 12 | 傳動軸 |
5 | 萬向節或銷接 | 13 | 軸承蓋 |
6 | 進料體 | 14 | 聯軸器 |
7 | 連接軸 | 15 | 底盤 |
8 | 填料座 | 16 | 電機 |
安裝尺寸圖:

安裝尺寸表:
泵型號 | D2 | D3 | L5 | L6 | H | H1 | d2*k2 |
G20-1 | 85 | 115 | 360 | 1150 | 150 | 95 | 4*14 |
G25-1 | 100 | 135 | 360 | 1150 | 150 | 95 | 4*14 |
G25-2 | 100 | 135 | 470 | 1280 | 150 | 95 | 4*14 |
G30-1 | 125 | 160 | 420 | 1300 | 170 | 130 | 4*18 |
G30-2 | 125 | 160 | 575 | 1540 | 190 | 130 | 4*18 |
G35-1 | 145 | 180 | 450 | 1410 | 190 | 135 | 4*18 |
G35-2 | 145 | 180 | 615 | 1610 | 190 | 135 | 4*18 |
G40-1 | 160 | 195 | 470 | 1510 | 200 | 130 | 4*18 |
G40-2 | 160 | 195 | 665 | 1700 | 200 | 130 | 4*18 |
G50-1 | 180 | 215 | 550 | 1620 | 225 | 150 | 8*18 |
G50-2 | 180 | 215 | 790 | 1960 | 225 | 150 | 8*18 |
G60-1 | 210 | 245 | 570 | 1810 | 225 | 160 | 8*18 |
G60-2 | 210 | 245 | 820 | 2140 | 225 | 160 | 8*18 |
G70-1 | 240 | 280 | 680 | 2120 | 245 | 150 | 8*18 |
G85-2 | 225 | 265 | 945 | 2810 | 275 | 170 | 8*18 |
G105-1 | 280 | 320 | 1193 | 300 | 195 | 8*18 |
備注:安裝尺寸表均只做參考,如需產品相關安裝圖等詳細參數說明書請致電:021-56386999。





